昭通市2018年事业单位招聘报考指南及注意事项
2018-04-02来源:昭通市人力资源和社会保障局
昭通市2018年事业单位公开招聘工作人员
报考指南及注意事项
一、招聘政策
(一)技工院校毕业生应如何报考?
技工院校毕业取得中级职业资格证书的毕业生,其学历比照中专(高中)毕业生执行;技工院校毕业取得高级工、预备技师职业资格证书的毕业生报名时其学历比照大学专科、大学本科执行。
若岗位设置了专业需求,技工院校毕业生可根据自身所学专业与岗位要求专业的相近程度,在“所学专业”栏选择“未在专业指导目录中的专业或具备与岗位要求专业类似的职称及执(职)业资格证书”,并在后续栏目填写相应信息后提交审核单位进行人工审核。
(二)退役士兵士官和随军家属如何报考?
昭通籍的退役士兵士官和驻昭部队随军家属,在参加本次事业单位招聘考试时,在符合招聘岗位招聘条件的前提下,年龄可放宽到40周岁,学历可放宽到中专。故退役士兵士官和随军家属在报考时若因放宽年龄和学历原因,不能由报名系统自动审核通过的,可以到报考岗位所在县区的人力资源和社会保障局进行现场报名,报名时间与网络报名时间同步,逾期不予以报名。
(三)招聘信息可在那些网站查询?
招聘信息查询网站:云南人事考试网(www.ynrsksw.cn;www.ynrsksw.net;www.ynrsksw.com)和昭通市人力资源和社会保障网(www.zthrss.gov.cn)。
考试招聘工作进展情况查询网站:昭通市人力资源和社会保障网(www.zthrss.gov.cn)。
(四)每个考生可以报考几个岗位?
各位报考人员在正式报名前下载最新的招聘简章和考试专业指导目录,对照岗位要求选择自己符合招聘条件的岗位报考,每个考生只能报考一个岗位,且报名信息一旦审核通过将不能更改。
每个考生在选择报考岗位时,自身所学专业和其他条件应和所报考岗位在专业要求、其他条件上必须一致。
(五)什么是普通招生计划毕业生?
(1)普通招生计划毕业生指经高考后通过普通招生计划录用的并经高校全日制学习毕业的学生(即通过教育主管部门统一开具《普通高等院校大中专毕业生就业报到登记证》的学生),中专学历层次的毕业生是否属于普通招生计划毕业生以省教育厅出具的学历认证报告为准。
(2)职业高中、职业中专等大专以下学历,未纳入普通高中及中专的招生计划,不属普通招生计划毕业生。
(3)军队院校招收的地方学员,如未经中央军委和教育部认定的,其学历不予承认;虽经中央军委和教育部认定,但没有教育主管部门开具派遣证的,其学历视为国民教育中的成人教育学历,不属“普通招生计划毕业生”。
(4)留学人员须在资格复审前取得各省(区)省一级教育部门出具的境外学历、学位认证书。根据云南省教育厅的规定,经过教育部门学历认证的留学人员,可以视为“普通高校毕业生”。
(5)根据2008年发布的《中国共产党党校工作条例》,党校学历是干部在校学绩的标志。该条例删除了原暂行条例中“党校学历可以享受同等国民教育的有关待遇”的表述,按教育部的规定,党校学历不属国民教育学历。
(六)报考年龄是如何规定的?
本次招考的年龄段界定为:
16至35岁:出生日期在1982年4月11日至2002年4月10日之间;
16至40岁:出生日期在1977年4月11日至2002年4月10日之间。
(七)何为连续任职满4年的村干部?
连续任职满4年的村干部指的是在昭通市内的村(社区)任村(社区)党组织书记及副书记、村(居)委会主任及副主任、村务监督委员会主任连续满4年(48个月)以上,且截止报名时仍在岗的人员,几类职务任职年限可合并计算,计算时间截止至2018年4月。
(八)何为历年考核均合格的服务基层“三个项目”人员?
基层服务项目服务期满高校毕业生指的是“农村义务教育阶段学校教师特设岗位计划”教师、参加“三支一扶”计划的高校毕业生和参加“大学生志愿服务西部计划”国家项目和地方项目的高校毕业生。此次定向招聘的对象为参加我省农村基层服务项目服务期满且服务期间年度考核合格及以上的高校毕业生,具体招聘对象如下:
1.“农村义务教育阶段学校教师特设岗位计划”教师(以下简称“特岗教师”):2013年、2014年由云南省教育厅公开招聘的,服务期满三年,取得《农村义务教育阶段学校教师特设岗位计划教师服务证书》,未转为正式在编教师且至今未进入党政机关、事业单位和国有企业的“特岗教师”;2015年云南省教育厅公开招聘的,截至2018年4月1日仍然在岗的“特岗教师”。
2.参加“三支一扶”计划的高校毕业生:2014年、2015年由云南省人力资源和社会保障厅统一招募,服务期满两年,取得《高校毕业生“三支一扶”服务证书》,至今未进入党政机关、事业单位和国有企业的“三支一扶”人员;2016年由云南省人力资源和社会保障厅统一招募的,年度考核合格,且截至2018年4月1日仍然在岗的“三支一扶”人员。
3.参加“大学生志愿服务西部计划”国家项目和地方项目的高校毕业生:2013年(限服务期为三年的)、2014年、2015年由共青团中央、共青团云南省委及各州(市)团委招募,服务期满两年且考核合格,至今未进入党政机关、事业单位和国有企业的“西部计划”志愿者;2016年由共青团中央、共青团云南省委及各州(市)团委招募的,年度考核合格,且截至2018年4月1日仍然在职在岗的参加“西部计划”国家项目和地方项目的高校毕业生。
(九)定向招聘残疾人岗位的范围。
本次定向招聘残疾人岗位的范围为:截止报名时,持有除精神残疾和智力残疾以外的中华人民共和国第二代残疾人证的,具有自理日常生活,正常履行岗位职责,独立开展工作的身体条件和岗位招聘条件的残疾人。身体已经康复不符合残疾人评定标准的人员不纳入招聘范围。
(十)何为连续3年考核优秀的村计生宣传员?
连续3年考核优秀的计生宣传员,指的是现任昭通市的村(社区)计生宣传员,并连续3年年度考核被评为优秀的人员。
(十一)为何有的岗位会有性别要求?
1.中华人民共和国劳动法第五十九条规定:禁止安排女职工从事矿山井下、国家规定的第四级体力劳动强度的劳动和其他禁忌从事的劳动。故从事高空、矿山、井下、野外或具有危险性的工作,可以仅允许男性报考。
2.因工作对象为女性的关系,部分岗位可以仅允许女性报考。如妇产科等工作对象为女性的岗位,可以仅允许女性报考。
3.根据法律规定,按男女平等就业的原则进行岗位等比招考。在除性别外其他条件相同的招考2人以上的岗位中,可以允许平均设置男女性别要求(例,一个岗位招2人,可以允许限制招男女各1人)。
(十二)如何判定所学专业是否满足岗位专业要求?
招考岗位对专业的要求,以及报名系统中对专业的设定均参照《2018年云南省公务员录用考试专业目录》进行设置。
专业指导目录分为三个层次,其相互关系为:“一级目录”包含“二级目录”,“二级目录”下设具体专业。
如果岗位的专业要求只限制了“一级目录”,则此“一级目录”下的所有“二级目录”所包含的专业都符合岗位要求;如果岗位的专业要求除了“一级目录”限制外,还限制了“二级目录”,则只有该“二级目录”下的专业才符合岗位要求;如果岗位的专业要求限制到“具体专业”的,则只有该具体专业才符合岗位要求。若一个岗位限制了多个“一级目录”或“二级目录”,则这几个“一级目录”或“二级目录下的所有专业均符合岗位要求。
报考人员在选择岗位时,应首先在专业指导目录中查找所学专业的所属(按照毕业证上的专业名称查找。若毕业证上的专业名称包含专业方向的说明,只要考生括号前或括号内的专业满足岗位的招考条件,均可报考该岗位;若所学专业与专业指导目录中专业仅有“和”、“与”、“及”、“及其”等连接词的不同,或者仅有1个“学”字的差别的,可视为同一专业),依此判定所学专业是否满足岗位要求。连接词的互换视为同一专业,但连接词增减不视为同一专业,如“及”换成“与”视为同一专业,但“计算机与信息管理”、“计算机信息管理”不能视为同一专业,或者最后一个“学”字的增减,也可视为同一专业),依此判定所学专业是否满足岗位要求。
若所学专业在专业指导目录中同时从属于不同的目录,可以任意一种从属专业报名, 提交报考申请时请按岗位要求相符的从属点选所学专业。
对于所学专业未列入专业指导目录的报考人员,报名时可将“所学专业”栏选择为“未纳入专业目录中专业或具备岗位要求的相关资质”,并在后续栏目填写所学专业名称,由审核单位根据用人单位的需求进行人工审核,审核合格即可报名。
若岗位既限制了专业,又限制了资格证书,报考人员必须同时满足方可报考。
(十三)“所学专业”用什么证明?有多个学历,其多重的学历信息可否交叉使用?
“所学专业”由学历证书(也就是毕业证书)予以证明。由于每一份学历证书都明确标识了毕业院校、专业、毕业时间、学历性质等内容,资格复审阶段审核单位将对与学历有关的信息采取一致性核验(即只对一份学历证书进行校核),所以报考人员在报名时,对于“毕业院校”、“毕业时间”、“学历”、“学历性质”、“学位”、“所填学历、学位是否为在职获得”、“所学专业”的填写必须保持前后一致,多个学历证书间的学历信息不能交叉使用。
(十四)是否可以使用学位证书上的专业名称报考?
“所学专业”在资格复审时是根据毕业证进行审验的,与学位证无关。若考生学位证上的专业名称与毕业证专业名称不一致时,请考生按照毕业证上的专业名称填写报名信息,在网络审核和后续的资格复审过程中,均以毕业证上的专业名称作为评判依据,学位名称不作为对“专业”的审核或评判的依据。
(十五)生源地或户籍如何确定?
生源地是指学生来源所在地。报考人员根据生源地或户籍的所属地判定是否满足此项限制。生源地和户籍只需满足其中一个条件即可。
生源是指学生来源所在地,即考生参加高考时的户籍所在地。同时,以不同户籍参加多次高考的考生,其生源以最后一次高考的户籍所在地为准。
考生户籍指的是考生现户籍所在地。截止资格复审时,涉及正在办理户籍迁移的毕业生,可依据户口迁移证(户口迁移证所载明的迁往地为昭通市)来证明自己的户籍所在地。
非昭通市户籍的考生,截止资格复审前将户籍迁移至昭通市范围内的,符合报考昭通市“生源或户籍要求”栏设置为“招考单位所在州(市)”的岗位。但市外生源因就学将户籍迁入昭通市相关学校集体户口的,不符合报考昭通市“生源或户籍要求”栏设置为“招考单位所在州(市)或招考单位所在县”的岗位。
二、报名注意事项
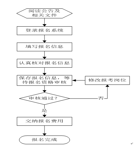
(一)报名的基本流程是什么?
网络报名的大致流程为:登陆云南人事考试网站(www.ynrsksw.cn;www.ynrsksw.net;www.ynrsksw.com)—阅读考生诚信承诺—进入报名界面按报名系统提示填写报名信息—上传近期清晰免冠电子照片—等待审核—审核通过后网上交费 —缴费成功报名完成。
具体报名流程见云南考试网(www.ynrsksw.cn;www.ynrsksw.net;www.ynrsksw.com)。

(二)报名时的个人身份有效证件是什么?
个人身份有效证件为有效期内的第二代居民个人身份证。过期的二代身份证、一代身份证、驾驶证等不能作为有效身份证明。报名时必须使用有效期内的第二代身份证,报考人员报名时使用的身份证与考试时使用的身份证必须一致。身份证丢失的人员,请尽快到派出所办理临时身份证,其他证件不能代替使用。使用时,证件须在有效期内。
(三)个人身份信息被他人盗用注册怎么办?
如本人并未注册但系统提示该证件号已注册的,表明报考人员的个人信息被他人盗用注册,请持本人身份证明材料(身份证、派出所开具的带本人照片的临时身份证)至昭通市人力资源和社会保障局事业单位人事管理科核实处理。在此提醒各位报考人员,注意个人信息保密,尽早注册。
(四)上传的照片有什么要求?
网络报名时,考生上传的照片要求为:本人近六个月内的正面免冠JPG格式的电子头像照片,头部长度占照片长度的2/3,不着制式服装或白色上衣,常戴眼镜的应配戴眼镜,白色背景,无边框,人像清晰,神态自然,无明显畸变。照片不合格者,不得进入考场考试。
(五)信息填报出错是否允许修改?
报考人员须仔细核对填报的信息及上传的照片,报考信息一经提交或审核通过,不再允许任何修改。因身份证过期、信息填写失误、照片模糊、变形,造成后续考试过程出现问题的(无法进入考场或无法通过复审等),后果由报考人员自负。请报考人员在提交信息保存前仔细校对,务必保证本人填报信息及上传照片信息准确无误
(六)报名资格审核如何进行?
报名资格审核采用电脑自动审核或部分人工审核的方式进行。
人工审核的权限为:昭通市人力资源和社会保障局和各县区人力资源和社会保障局,审核结果最迟于第二天返回。
(七)审核结果返回时间已过,为何仍然显示尚未审核?
如果报考信息不全,电脑将不会对其进行报名资格审核。请考生在确认报名信息无误后,务必上传个人电子照片。
同时,要特别提醒各位报考人员,每次保存报名信息,系统将视为重新报考而刷新报名时间并再次提交审核,如此反复,将会贻误审核时间。
(八)报名时的是否满足“其他招录条件”和岗位相关规定要求”栏是何含义?
如果填“否”则审核无法通过,如果填“是”则必须保证自身条件符合其他招录条件的需求。
(九)为何银行卡已经扣款,但仍显示未缴费?
报名缴费时银行卡已经扣款,报名网站却显示未缴费,是因为缴费平台的交易状态没有正常返回报名网站。不能确定缴费是否成功的报考人员,为保证正常参加考试,可以在缴费时间内再次缴费。
(十)重复缴纳的报名费如何清退?
重复缴纳的报名费将在报名结束,清账完毕后退还到缴费银行卡内,届时请保持缴款银行卡能正常使用。
(十一)如何办理减免报名费手续?
建档立卡贫困家庭的报考人员凭其家庭所在地的县(市、区)扶贫办(部门)发放的档案卡、手册或出具的贫困证明(原件及复印件)等材料,享受最低生活保障城镇家庭的报考人员凭低保证(原件及复印件)或其家庭所在地的县(市、区)民政部门出具的享受最低生活保障的证明,办理减免报名费用的手续。
享受减免费用的报考人员,在报名阶段先进行网络缴费,然后于4月25日至26日由本人或委托人到昭通市人力资源和社会保障局事业单位人事管理科提交有关材料,待有关部门核实通过后,再将其缴纳的报名费用退还,逾期不再受理。
(十二)岗位削减如何进行?
达不到开考比例的岗位,由中共昭通市委组织部、昭通市人力资源和社会保障局根据岗位的报名人数对岗位招聘计划进行削减或取消。因政策原因导致无法开考的报考人员退还报名费;因报考人员原因届时不能考试的,一律不予以退费。
三、资格复审
(一)资格复审需提供的材料
资格复审时考生须提供:本人身份证、毕业证、户口簿、教育部学历证书电子注册备案表及岗位要求的其他证明材料原件。所有原件经审核后收取复印件。
烈士子女在资格复审时需提供中华人民共和国民政部颁发的《革命烈士证明书》及户口证明(需证明与烈士间的关系);对因公牺牲的人民警察的子女,资格复审时需提供民政部门认定并颁发的《人民警察因公牺牲证明书》及户口证明(需证明与因公牺牲人员的关系)。
报考岗位要求为“连续任职满4年的村干部”岗位的人员,在资格复审时须提供《昭通市村干部参加事业单位工作人员招聘考试资格审查表》。
报考岗位要求历年考核均合格的服务基层项目人员岗位的人员,特岗教师、三支一扶、西部志愿者在资格复审时须提供《定向招聘应聘人员情况审核表》。
报考岗位要求为“连续3年考核优秀的计生宣传员”岗位的人员,在资格复审时须提供《昭通市优秀计生宣传员参加事业单位工作人员招聘考试资格审查表》。
报考岗位要求为“残疾人”岗位的人员,在资格复审时须出具由各级残疾人联合会颁发的《中华人民共和国残疾人证》,残疾证需经市残联认定。
退役士官士兵在资格复审时须提供部队颁发的退伍证。
驻昭部队随军家属在资格复审时须提供驻昭部队出具的证明。
(二)毕业证或学位证遗失怎么办?
毕业证书或学位证书因遗失而无法补办的,须提供盖有毕业学校学历学位发放部门签章的学历、学位获得证明。对于大专及以上国民教育的毕业生,该证明由学校开具,同时需有省教育厅的签章;对于普通高中及普通中专生,该证明由学校开具,同时需有州(市)级教育局的签章;对于大专及以上党校学历的毕业生,该证明必须有省一级党校的签章(中央党校的学历可以在省级党校签章证明);对于其他非国民教育的毕业生,一般可补办毕业证书,故必须提供毕业证原件。
四、时间安排
| 工作事项 | 时间 | |
| 网络报名 | 2018年4月10日9:00至4月16日18:00 | |
| 资格 初审 | 计算机自动审核 | 2018年4月10日10:00至4月16日18:00 |
| 人工审核 | 2018年4月10日10:00至4月17日18:00 | |
| 网络缴费 | 2018年4月11日9:00至4月18日24:00 | |
| 岗位削减 | 2018年4月24日 | |
| 享受减免报考费考生申请退费 | 2018年4月25日-26日 | |
| 打印准考证 | 2018年5月21日9:00至26日9:00 | |
| 笔试 | 2018年5月26日8:30至12:00 | |
昭通市人力资源和社会保障局
2018年4月2日