昭通市2016年事业单位招聘人员报考指南及注意事项

2016-05-12来源:昭通市人力资源和社会保障网

昭通市2016年事业单位公开招聘工作人员

报考指南及注意事项

一、招聘政策

(一)招聘信息可在那些网站查询?

招聘信息查询网站:云南人事考试网(www.ynrsksw.cn;www.ynrsksw.net;www.ynrsksw.com)和昭通市人力资源和社会保障网(www.zthrss.gov.cn)。

考试招聘工作进展情况查询网站:昭通市人力资源和社会保障网(www.zthrss.gov.cn)。

(二)每个考生可以报考几个岗位?

各位报考人员在正式报名前下载最新的招聘简章和考试专业指导目录,对照岗位要求选择适合自己的岗位,每个考生只能报考一个岗位,且报名信息一旦审核通过将不能更改。

每个考生在选择报考岗位时,自身所学专业和其他条件应和所报考岗位在专业要求、其他条件上必须一致。

(三)什么是普通招生计划毕业生?

(1)普通招生计划毕业生指经高考后通过普通招生计划录用的并经高校全日制学习毕业的学生(即通过教育主管部门统一开具《普通高等院校大中专毕业生就业报到登记证》的学生),中专学历层次的毕业生是否属于普通招生计划毕业生以省教育厅出具的学历认证报告为准。

(2)职业高中、职业中专等大专以下学历,未纳入普通高中及中专的招生计划,不属普通招生计划毕业生。

(3)军队院校招收的地方学员,如未经中央军委和教育部认定的,其学历不予承认;虽经中央军委和教育部认定,但没有教育主管部门开具派遣证的,其学历视为国民教育中的成人教育学历,不属“普通招生计划毕业生”。

(4)留学人员须在资格复审前取得各省(区)省一级教育部门出具的境外学历、学位认证书。根据云南省教育厅的规定,经过教育部门学历认证的留学人员,可以视为“普通高校毕业生”,留学人员在云南省的学历认证地点为:云南省留学服务中心,电话为:0871-5151676。

(5)根据2008年发布的《中国共产党党校工作条例》,党校学历是干部在校学绩的标志。该条例删除了原暂行条例中“党校学历可以享受同等国民教育的有关待遇”的表述,按教育部的规定,党校学历不属国民教育学历。

(四)报考年龄是如何规定的?

按照网络报名时间计算,2016年考试招聘年龄是18岁以上35周岁以内(1980 年5月20日至1998年5月19日出生),其中:报考定向招聘村干部和历年考核均合格的服务基层“四个项目”人员岗位的人员要求年龄在40周岁以下18周岁以上(1975年5月20日至1998年5月19日出生)。

(五)何为服务期满2年且考核合格的大学生村官?

服务期满2年且考核合格的大学生村官,指的是由全省统一选聘到我市服务,截止至2016年5月满2年且考核合格,至今仍在聘的大学生村官或近三年服务期满且考核合格,至今未被录用为机关、事业单位的人员。

(六)何为连续任职满4年的村干部?

连续任职满4年的村干部指的是在昭通市内的村(社区)任村(社区)党组织书记及副书记、村(居)委会主任及副主任、村务监督委员会主任连续满4年以上的人员,几类职务任职年限可合并计算,计算时间截止至2016年5月。

(七)何为基层服务项目服务期满高校毕业生。

1、大学生村官:2014年以前(含2014年)省级统一选聘,年度考核称职及以上,截至2016年5月1日在职在岗的大学生村官;2008年、2009年省级统一选聘、聘用期满6年离岗和2011年、2012年省级统一选聘、聘用期满3年后离岗,聘期考核为称职及以上等次,至今未进入党政机关、国有企业和事业单位的大学生村官。

2、“农村义务教育阶段学校教师特设岗位计划”教师:2013年云南省教育厅公开招聘的,截至2016年5月1日仍然在职在岗的“特岗教师”;2011年、2012年由省教育厅公开招聘的,服务期满三年,取得《农村义务教育阶段学校教师特设岗位计划教师服务证书》,未转为正式在编教师且至今未进入党政机关、国有企业和事业单位的“特岗教师”。

3、参加“三支一扶”计划的高校毕业生:2014年由省人力资源和社会保障厅统一招募的,年度考核合格,且截至2016年5月1日仍然在职在岗的“三支一扶”大学生;2012年、2013年由省人力资源和社会保障厅统一招募,服务期满两年,取得《高校毕业生“三支一扶”服务证书》,至今未进入党政机关、国有企业和事业单位的“三支一扶”大学生。

4、参加“大学生志愿服务西部计划”国家项目和地方项目的高校毕业生:2014年由共青团中央、共青团云南省委招募的,年度考核合格,且截至2016年5月1日仍然在职在岗的参加“西部计划”国家项目和地方项目的高校毕业生;2011年(限服务期为三年的)、2012年、2013年由共青团中央、共青团云南省委招募,服务期满两年且考核合格,至今未进入党政机关、国有企业和事业单位的“西部计划”志愿者。

(八)如何判定所学专业是否满足岗位专业要求?

事业单位招聘工作人员专业限制性强,招聘岗位“专业要求”栏明确了具体专业,若“专业要求”栏只限制到学科或门类,考生所学专业只要在“学科或门类需求”范围内都可报考,具体根据《昭通市2016年事业单位公开招聘工作人员考试专业指导目录(试行)》查询判断,若本人所学专业在《昭通市2016年事业单位公开招聘工作人员考试专业指导目录(试行)》里面找不到,请考生在在报名时在专业选项内选择“未纳入专业目录专业”,并在专业选项下方按照毕业证上的专业如实填写所学专业,由市人社局根据考生所学专业归入相应的学科、门类后,结合岗位的专业需求与岗位匹配性进行审核确定是否符合考生报考岗位的招考条件。

若毕业证上的专业名称包含专业方向的说明,只要考生括号前或括号内的专业满足岗位的招考条件,均可报考该岗位;若考生所学专业与岗位要求专业仅有“和”、“与”、“及”、“及其”等连接词的不同,或者仅有 “工程”、“技术”等后缀词的差别的,可视为同一专业,考生符合该岗位的报考条件。

若考生学位证上的专业名称与毕业证专业名称不一致时,请考生按照毕业证上的专业名称填写报名信息,在网络审核和后续的资格复审过程中,均以毕业证上的专业名称作为评判依据,学位名称不作为对“专业”的审核或评判的依据。

二、报名

(一)网上报名应注意哪些事项?

报考人员应仔细阅读招聘公告及相关文件,熟悉招聘的相关政策。选择与自己条件相符的单位和岗位。对需要填写的每一项内容要认真考虑,慎重如实填报。

(二)上传的照片有什么要求?

网络报名时,考生上传的照片要求为:本人近六个月内的正面免冠JPG格式的电子头像照片,头部长度占照片长度的2/3,不着制式服装或白色上衣,常戴眼镜的应配戴眼镜,白色背景,无边框,人像清晰,神态自然,无明显畸变。照片不合格者,不得进入考场考试。

(三)考生自己对填报信息负责是指什么?

网络报名是基于考生诚信的前提下开展的,故我们首先认定考生自己填报的信息是真实的,并且为保证其真实性,设置了后续的对不诚信行为的处罚措施,所以请报考人员一定要认真检查自己填报的信息,否则可能被视为不诚信,予以处罚。

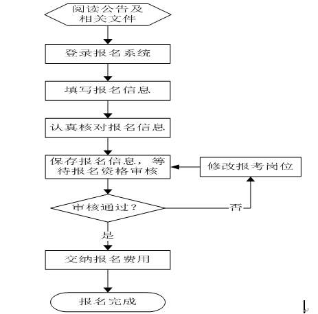
(四)报名的基本流程是什么?

网络报名的大致流程为:登陆云南人事考试网站(www.ynrsksw.cn;www.ynrsksw.net;www.ynrsksw.com)—阅读考生诚信承诺—进入报名界面按报名系统提示填写报名信息—上传近期清晰免冠电子照片—等待审核—审核通过后网上交费 —缴费成功报名完成。

具体报名流程见云南考试网(www.ynrsksw.cn;www.ynrsksw.net;www.ynrsksw.com)。

(四)报名资格审核如何进行?

报名资格审核采用电脑自动审核和人工审核相结合的方式进行。

计算机的审核时间为每天的8:00、16:00、24:00准点进行计算机自动审核并返回审核结果。

人工审核的权限为:昭通市人力资源和社会保障局和各县区人力资源和社会保障局。审核结果在考生提交报名申请一个工作日内审核完毕并返回。为保证审核信息的正确性,报名信息在审核期间考生只能修改照片信息,其余信息不得修改。

(五)审核结果返回时间已过,为何仍然显示尚未审核?

如果报考信息不全,电脑将不会对其进行报名资格审核。请考生在确认报名信息无误后,务必上传个人电子照片和电子身份证照、电子毕业证照。

同时,要特别提醒各位报考人员,每次保存报名信息,系统将视为重新报考而刷新报名时间并再次提交审核,如此反复,将会贻误审核时间。

(六)是否允许重复报名?

不允许,同一组身份证号码和姓名只允许报名一次。

(七)报名时的“是否满足岗位要求的其它招录条件”栏是何含义?

如果填“否”则审核无法通过,如果填“是”则必须保证自身条件符合其他招录条件的需求。

(八)为什么交费后还是显示尚未交费?

由于银行方面电子对账可能出现掉单,掉单的交费记录未能及时返回本系统,要等银行手工对帐完毕返回本系统后,才能查知交费情况。考生只需确认银行扣款就表示交费成功了,建议之后再到报名系统查询。

银行扣款的确认不是在报名系统里确认,而是从银行网银查询。如果银行扣款成功,请勿重复交费,否则退费会很慢。

重复交费退费程序:等报名结束银行对帐完毕,需报经省财政厅同意,退费只能退回到交费的那张银行卡上(请保留那张交费的银行卡),退费时间最快也要一个月。因此建议大家确认银行扣款后不要重复交费。

(九)如何办理减免报名费手续?

对享受国家最低生活保障金的家庭和农村绝对贫困家庭的报考人员,凭相关证明材料减免考试费用。证明材料包括:享受国家最低生活保障金的家庭的报考人员,其家庭所在地的县(区、市)民政部门出具的享受最低生活保障的证明或低保证、户口薄及复印件;农村绝对贫困家庭的报考人员,其家庭所在地的县(区、市)扶贫办(部门)出具的特困证明。减免考试费用人员需由本人或委托人在公告规定的时间内提交证明至市人力资源和社会保障局事业单位人事管理科确认。

(十)岗位削减如何进行?

岗位招聘人数与报名人数比例原则上不低于1:3方能开考。特殊岗位、县区政府驻地和街道办事处以外的乡镇岗位,经批准可适当放宽开考比例。达不到比例要求的,经市人力资源和社会保障局审核后可进行调整、归并;无法调整、归并的,取消招聘计划。

(十一)笔试结束后,能否申请查分?

根据国家的相关规定,客观题机器评卷的科目,不接受考生查分申请。

(十二)资格复审需提供哪些材料?

资格复审时考生须提供:本人身份证、毕业证、教育部学历证书电子注册备案表及岗位要求的其他证明材料原件。所有原件经审核后收取复印件。

烈士子女在资格复审时需提供中华人民共和国民政部颁发的《革命烈士证明书》及户口证明(需证明与烈士间的关系);对因公牺牲的人民警察的子女,资格复审时需提供民政部门认定并颁发的《人民警察因公牺牲证明书》及户口证明(需证明与因公牺牲人员的关系)。

报考岗位要求为“服务期满2年且考核合格的大学生村官”岗位的人员,在资格复审时须提供《昭通市事业单位定向招录大学生村官推荐表》。

报考岗位要求为“连续任职满4年的村干部”岗位的人员,在资格复审时须提供《昭通市村干部参加事业单位工作人员招聘考试资格审查表》。

报考岗位要求历年考核均合格的服务基层“四个项目”人员岗位的人员,特岗、三支一扶、西部志愿者在资格复审时须提供《定向招聘应聘人员情况审核表》,大学村官在资格复审时须提供《昭通市事业单位定向招录大学生村官推荐表》。

三、时间安排

工作事项 时间
网络报名 2016年5月20日9:00至5月24日24:00
资格初审 计算机自动审核 2016年5月20日9:00至5月25日24:00
人工审核 2016年5月20日9:00至5月25日12:00
网络缴费 2016年5月21日9:00至5月26日24:00
岗位削减 2016年5月30日
享受减免报考费考生申请退费 2016年6月8日
打印准考证 2016年6月28日10:00至7月2日10:00
笔试 2016年7月2日8:30至12:00

昭通市人力资源和社会保障局

2016年5月12日

昭通市2016年公开招聘工作人员报考指南及注意事项(附件1).doc

猜你喜欢
2025年昭通市永善县紧密型医共体黄华分院招聘编外专业技术人员公告2025年10月昭通市安然公益事业联合会招聘公告昭通市2025年招聘大学生乡村医生专项计划人员通告(第一号)2025年昭通市改革发展研究中心选调工作人员职业素质测评通告2025年昭通市绥江县职业高级中学招聘编外紧缺临聘数学教师公告2025年镇雄县五德中学(初中部)宿舍管理员、食堂从业人员招聘公告2025年昭通市市直事业单位选调工作人员面试通告2025年昭通市水富市两碗镇人民政府招聘城镇公益性岗位人员通告2025年昭通市生态环境局大关分局招聘公益性岗位工作人员通告2025年昭通市水富市退役军人事务局招聘城镇公益性岗位人员通告2025年昭通市市直事业单位选调工作人员笔试成绩通告2025年昭通市城乡居民养老保险中心招聘城镇公益性岗位工作人员通告
最新培训课程
2025年云南省特岗教师面试课程2026年仕途无忧国省考、事业单位全程系列考前培训课程2026云南农信社秋招笔试精讲课2026云南定向选调笔试精讲课2026云南烟草笔试精讲课2026南方电网秋招笔试精讲课2026银行秋招笔试精讲课2026年云南省农信社考前笔试课程2025年昆明市教体局教师招聘面试课程2026年金领辉煌农信社笔面定制班2026年金领辉煌银行笔面定制班2025云南黄金集团面试专项班2025国家能源集团面试专项班考前培训简章2025年西部计划面试专项特训营-结构化/无领导2025仕途无忧四川省公务员补录面试定制营2026年仕途无忧国考全程系列考前培训简章2026年仕途无忧国考暑期特训营简章2025云南特岗教师学科精讲课,试看满意购买,配套纸质资料免费包邮!2025云南特岗系统精讲课程!配套纸质资料包邮到家上新特惠!只需199!云南2025三支一扶系统精讲网课